
專利產品 專利號:2013201332429
型號:HWⅡ-15
負荷(kg):較小承重-9,較大承重-15
工作行程(M):1.8
自重(kg):4.8
9kg以上80kg以下的平衡器都能實現遠程鎖定。由原來的人為登梯爬上去鎖平衡器,現改成人站在地面通過一個手柄就可鎖住或打開平衡器,給用戶帶來操作商的方便,平衡器在出廠時每一個里面都配一個爪子,用戶只要回去焊一根節桿就可用(現已申報專利)。
使用方法:
一、根據工具和附件的重量選擇適當的規格平衡器。
二、懸掛平衡器時,務必連接好保險繩。
三、調節平衡器上的主調節蝸桿,使平衡器重量與所使用工具的重量一致,使工具在行程范圍之內的任意位置均達到平衡,即工具處于無重狀態。當順時針調節時,平衡重增大,反之減少。供貨時已將平衡重量調至中間值,調節時不能使用平衡重量高于或低于額定值,否則影響正常運行。調節蝸桿前,松開頂緊螺絲,調整好以后在緊固。
四、從平衡器上取卸工具時,須先將止動銷拉桿拉出,順時針轉動30°,放回槽中,將塔輪鎖住后(參照示意圖),再取下工具,以防突然卸載吊鉤快速收回傷人或損壞工具,待再裝上該工具或等重工具后,方可斷開止動銷,將止動銷拉起反時針復位。
五、平衡器未掛上工具時,切勿無故空拉空放,以免造成鋼絲繩錯槽卡死或掉槽。
六、當操作工橫向移至斜度超過30°時,需移交拉近垂直位置再放松工具,否則易引起鋼絲繩錯槽卡死。
七、負荷應該垂直懸掛。
注意事項:
一、拆卸平衡器時,需先將調節蝸桿反時針轉動,使卷簧充分處于松弛狀態時方可進行其他工作。
二、每月應對平衡器進行一次可靠檢查,主要檢查內容有:
1、緊固件是否松動。
2、上、下吊鉤有無碰傷、裂紋及其他缺陷。
3、保險繩是否可靠。
4、外殼及塔倫有無裂痕、嚴重磨損。
5、外殼裝置能否正常工作。
三、長期放置不用,要卸荷保存,注意防潮,以免卷簧生銹。
示意圖:

絕緣結構:

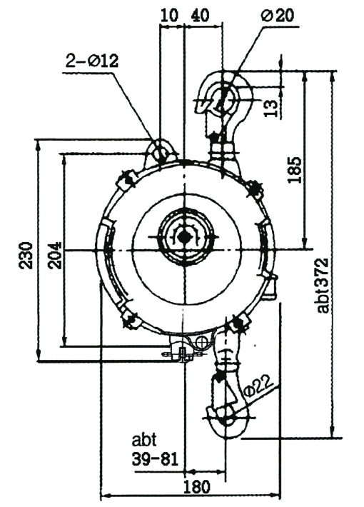
外形尺寸圖:


聯系我們 咨詢熱線13915042678 地址:常州市戚墅堰勞動東路20號 聯系人:李經理 電話:13915042678 手機:13915042678 E-mail:yanyanli509@sina.com